兴化三水园论坛

查看: 143|回复: 0

[通知公告] 兴征补安置〔2026〕16号 (本公告为第二次公告)

[复制链接]
发表于 昨天 17:24 | 显示全部楼层 |阅读模式 来自 中国江苏泰州
兴化市人民政府征地补偿安置方案公告
兴征补安置〔2026〕16号
(本公告为第二次公告)
根据《中华人民共和国土地管理法》第四十七条、第四十八条,《中华人民共和国土地管理法实施条例》第二十七条、第二十八条,《江苏省土地管理条例》第三十七条的规定,依据兴拟征告〔2024)48号开展的拟征收土地现状调查和社会稳定风险评估结果,2025年6月18日已发布《兴化市人民政府征地补偿安置方案公告(第一次公告)》(兴征补安置〔2025)27号), 为做好征地区片综合地价新旧标准衔接,现将拟订的征收土地补偿安置方案有关事项重新公告如下:
一、征收范围
本次拟征收土地位于戴窑镇集体,韩窑村集体、韩窑五组,窑东村集体、窑东一组、窑东二组、窑东三组、窑东四组,青凤村集体、青凤八组,新花园村集体、新花园三组、新花园四组、新花园五组、新花园八组、新花园九组、新花园十组,联葛村集体、联葛二组、联葛三组、联葛四组、联葛七组、联葛八组,灯塔村集体、灯塔一组、灯塔四组、灯塔五组、灯塔六组、灯塔八组范围内。拟征收土地位置详见附图。
实际征收土地范围以最终批准文件为准。
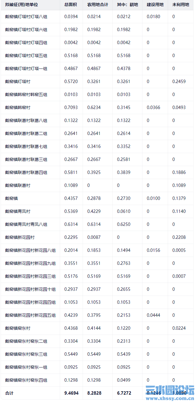
二、土地现状
根据拟征收土地现状调查结果,本次拟征收土地现状如下:
拟征收土地现状表
单位:公顷
QQ截图20260220155823.png
三、征收目的
根据《中华人民共和国土地管理法》第四十五条的规定,本次征收土地目的为由政府组织实施的能源、交通、水利、通信、邮政等基础设施建设需要用地。
四、补偿方式与标准
(一) 土地补偿费和安置补助费标准
暂按《兴化市人民政府关于重新公布兴化市征地区片综合地价执行标准的通知》(兴政发(2024)1号)规定的执行标准测算,具体按照获批时点的兴化市执行标准执行。
(二) 青苗和地上附着物补偿标准
按《市政府关于公布泰州市征地地上附着物和青苗等补偿标准的通知》(泰政发〔2023〕104号)的规定执行。
五、安置对象、方式及社会保障
本次征收土地涉及被征地农民的安置和社会保障按照《江苏省被征地农民社会保障办法》(苏政发(2021)87号)、《泰州市被征地农民社会保障实施办法》(泰政规〔2022〕3号)的规定执行。不满16周岁的安置人员不作为被征地农民参加城乡社会保障,其本人的安置补助费由市政府按规定足额支付。
六、其他事项
本公告在兴化市政府门户网站和拟征收土地涉及的农村集体经济组织所在乡(镇)和村、村民小组范围内进行公告,听取被征地的农村集体经济组织及其成员、村民委员会和其它利害关系人的意见。本公告公示期为30日,自2026年2月14日至2026年3月15日。
对本征地补偿安置方案有异议的,应在本公告发布之日起30日内(截止2026年3月15日)提出,实名签名或盖章的书面意见最迟应于公告期满后5个工作日内提交。提交地址为:兴化市自然资源和规划局第六分局(联系人:钱先生:电话:80261236;邮编:225700)。以邮寄方式寄送书面意见的以寄出邮戳日期为准。书面意见应明确、具体,认为本征地补偿安置方案不符合法律、法规规定,应予以明示。在规定时间内未提交书面意见的,视为无异议。
如过半数被征地的农村集体经济组织成员认为本征地补偿安置方案不符合法律、法规规定的,或者虽未过半数但有部分被征地的农村集体经济组织成员认为征地补偿安置方案不符合法律、法规规定,本级人民政府认为确有必要的,兴化市人民政府将依法组织听证,相关事项另行通知。
拟征收土地范围内的土地所有权人、使用权人应当在本公告规定期限内即2026年2月14日至2026年3月15日,持不动产权属证明材料至兴化市自然资源和规划局第六分局(联系人:钱先生;电话:80261236)办理补偿登记,请相互转告。土地所有权人、使用权人如未按期办理补偿登记的,其补偿内容以土地现状调查结果为准。
特此公告。
附图:拟征收土地位置示意图
161.png
162.png
兴化市人民政府
2026年2月13日


回复

使用道具 举报

您需要登录后才可以回帖 登录 | 立即注册

本版积分规则



QQ|客服|举报|Archiver|手机版|小黑屋|兴化三水园论坛 ( 苏ICP备20024052号 )

GMT+8, 2026-2-21 06:32 , Processed in 0.060281 second(s), 20 queries .

Copyright © 兴化市艺博网络科技服务有限公司 (https://www.xhssy.com.cn/) 版权所有 All Rights Reserved.

声明∶本论坛帖文观点仅代表作者本人,文责自负,兴化三水园论坛系信息发布平台,仅提供信息存储空间服务,如发现有侵权行为,请与我们联系。

网站常年法律顾问:汤荣华律师,手机:13852687313

快速回复 返回顶部 返回列表